Zum Hauptinhalt springen Zur Suche springen Zum Menü springen

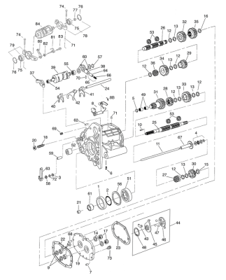
10Pck detend spring 5-Speed BT01-06

10Pck detend spring 5-Speed BT01-06. | Estado del art
22,95 €
inkl. 19% USt. , zzgl. Versand
10