Zum Hauptinhalt springen Zur Suche springen Zum Menü springen

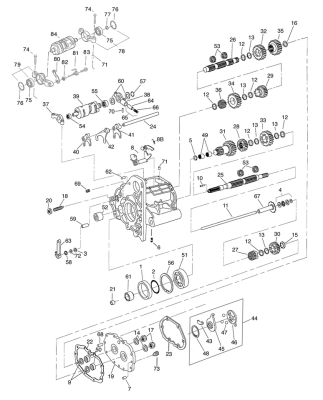
12mm extended Clutch pushrod 5 speed (IT)

12mm extended Clutch pushrod 5 speed. | Condizione dell articolo nuovo.
13,95 €
inkl. 19% USt. , zzgl. Versand
1