Zum Hauptinhalt springen Zur Suche springen Zum Menü springen

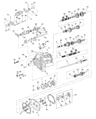
12mm extended Clutch pushrod 5 speed

12mm extended Clutch pushrod 5 speed. | Estado del art
13,95 €
inkl. 19% USt. , zzgl. Versand
1