Zum Hauptinhalt springen Zur Suche springen Zum Menü springen

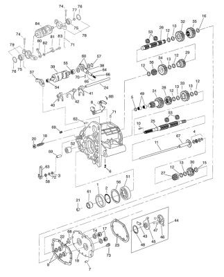
25mm Extended Mainshaft 5 speed L=371mm (FR)

25mm Extended Mainshaft 5 speed L=371mm. | article : NOUVEAU
354,95 €
1