Zum Hauptinhalt springen Zur Suche springen Zum Menü springen

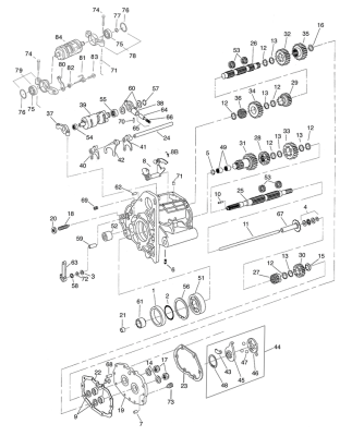
4th. Gear mainshaft BT94-06 38T

4th. Gear mainshaft BT94-06 38T. | Estado del art
93,95 €
inkl. 19% USt. , zzgl. Versand
1