Zum Hauptinhalt springen Zur Suche springen Zum Menü springen

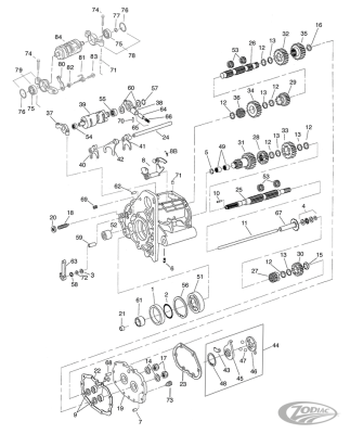
5-pck Detent sleeve

5-pck Detent sleeve. | Artikelzustand: NEU
29,95 €
inkl. 19% USt. , zzgl. Versand
5