Zum Hauptinhalt springen Zur Suche springen Zum Menü springen

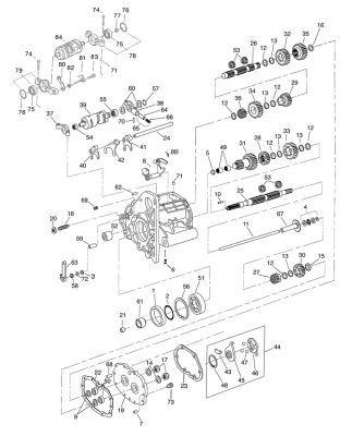
5pck Thrust washer shifter cam #33206-80 (FR)

5pck Thrust washer shifter cam #33206-80. | article : NOUVEAU
18,95 €
inkl. 19% USt. , zzgl. Versand
5