Zum Hauptinhalt springen Zur Suche springen Zum Menü springen

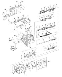
GZP BT94-06 XL95-05 Oil seal main drive

GZP BT94-06 XL95-05 Oil seal main drive. | Item condition: NEW
13,95 €
inkl. 19% USt. , zzgl. Versand
  • Bald wieder verfügbar