Zum Hauptinhalt springen Zur Suche springen Zum Menü springen

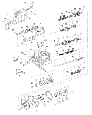
JIMS Shifter Shaft Sleeve 5 Speed

JIMS Shifter Shaft Sleeve 5 Speed. | Condizione dell articolo nuovo.
23,95 €
inkl. 19% USt. , zzgl. Versand
1