Zum Hauptinhalt springen Zur Suche springen Zum Menü springen

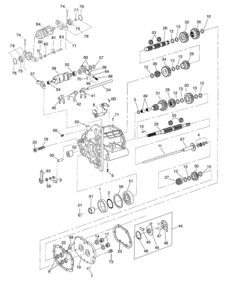
Shifter shaft lever spring

Shifter shaft lever spring. | Condizione dell articolo nuovo.
1,99 €
inkl. 19% USt. , zzgl. Versand
1