Zum Hauptinhalt springen Zur Suche springen Zum Menü springen

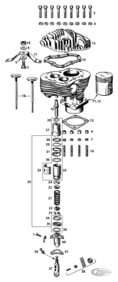
Tappet with Japan roller all sidevalves

Tappet with Japan roller all sidevalves. | Artikelzustand: NEU
70,95 €
inkl. 19% USt. , zzgl. Versand
1