Zum Hauptinhalt springen Zur Suche springen Zum Menü springen

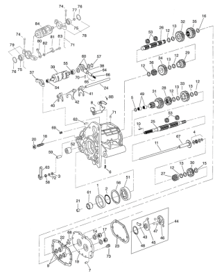
12mm Extended Mainshaft 5 speed L=358mm

12mm Extended Mainshaft 5 speed L=358mm. | Condizione dell articolo nuovo.
322,95 €
1