Zum Hauptinhalt springen Zur Suche springen Zum Menü springen

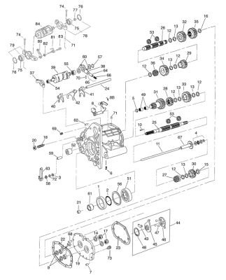
55mm Extended Mainshaft 5 speed L=401mm

55mm Extended Mainshaft 5 speed L=401mm. | Condizione dell articolo nuovo.
392,95 €
1