Zum Hauptinhalt springen Zur Suche springen Zum Menü springen

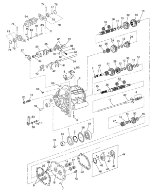
Detent sleeve

Detent sleeve. | Estado del art
5,99 €
inkl. 19% USt. , zzgl. Versand
  • Bald wieder verfügbar