Zum Hauptinhalt springen Zur Suche springen Zum Menü springen

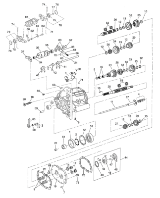
5-pck Detent sleeve

5-pck Detent sleeve. | Estado del art
29,95 €
inkl. 19% USt. , zzgl. Versand
5