Zum Hauptinhalt springen Zur Suche springen Zum Menü springen

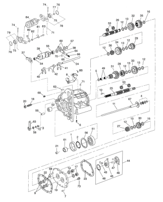
Pivot screw, detent follower

Pivot screw, detent follower. | Estado del art
15,74 €
inkl. 19% USt. , zzgl. Versand
Alter Preis: 18,95 €
1