Zum Hauptinhalt springen Zur Suche springen Zum Menü springen

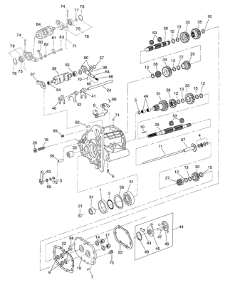
12mm Extended Mainshaft 5 speed L=358mm (GB)

12mm Extended Mainshaft 5 speed L=358mm. | Item condition: NEW
322,95 €
1