Zum Hauptinhalt springen Zur Suche springen Zum Menü springen

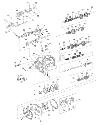
1st. Gear mainshaft BT80-06 18T (ES)

1st. Gear mainshaft BT80-06 18T. | Estado del art
91,95 €
inkl. 19% USt. , zzgl. Versand
1