Zum Hauptinhalt springen Zur Suche springen Zum Menü springen

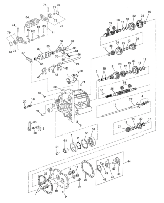
25mm Extended Mainshaft 5 speed L=371mm (ES)

25mm Extended Mainshaft 5 speed L=371mm. | Estado del art
354,95 €
1