Zum Hauptinhalt springen Zur Suche springen Zum Menü springen

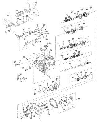
5-speed clutch pushrod center BT90-06 (ES)

5-speed clutch pushrod center BT90-06. | Estado del art
18,95 €
inkl. 19% USt. , zzgl. Versand
1