Zum Hauptinhalt springen Zur Suche springen Zum Menü springen

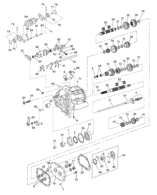
Mainshaft 5-speed Transmission BT91-06 (ES)

Mainshaft 5-speed Transmission BT91-06. | Estado del art
231,95 €
1