Zum Hauptinhalt springen Zur Suche springen Zum Menü springen

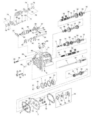
Snap ring #11083 each (IT)

Snap ring #11083 each. | Condizione dell articolo nuovo.
-0,01 €
inkl. 19% USt. , zzgl. Versand
1